aranco Geplaatst: 1 oktober 2006 Geplaatst: 1 oktober 2006 ik heb een 1 m schotel met 3 lnb's nl 2x een quad en 1 single lnb,als ik een 4in1 switch er tussen heb dan kan ik wel de astra 1 en de hb ontvangen maar geen astra 2. gooi ik nu de kabel direct op de single lnb naar de astra 2 doet ie het wel,wat kan dit zijn.
Gast Geplaatst: 1 oktober 2006 Geplaatst: 1 oktober 2006 probeer eens een andere poort van je switch <img src="/forums/images/graemlins/xyxthumbs.gif" alt="" />
aranco Geplaatst: 2 oktober 2006 Auteur Geplaatst: 2 oktober 2006 heb ik al gedaan,waar de astra 1(quad lnb) het wel deed doet de astra 2 (single lnb)het niet.
WPW Geplaatst: 2 oktober 2006 Geplaatst: 2 oktober 2006 Maak eens een tekening hoe je dit hebt aangesloten, niet zozeer voor ons maar voor jezelf aangezien dit meestal laat zien wat er fout zit of waar je moet zoeken. gr, WPW. -=[Deze ruimte is opzettelijk leeg gelaten]=-
W3ird_N3rd Geplaatst: 2 oktober 2006 Geplaatst: 2 oktober 2006 Een switch kan het signaal een beetje verzwakken, is Astra 2 sterk normaal? Als je een zenderscan doet zie je dan ook werkelijk geen enkele zender? Dan is er iets verkeerd aangesloten. Visiosat Bisat 19,2/23,5/28,2, Triax 54cm Hotbird, Spaun/Maximum/Axing/Satconn switches
aranco Geplaatst: 7 oktober 2006 Auteur Geplaatst: 7 oktober 2006 kan het evt ook zo zijn,dat de single lnb niet samen op een switch kan met 2 quads. en nee,hij scant geen een transponder op de astra 2. alvast bedankt voor het mee denken.
Gast Geplaatst: 7 oktober 2006 Geplaatst: 7 oktober 2006 nou zo ver ik kan begrijpen is het gewoon een uitricht fout. maar maak eens een tekening van je lnbs en switch in paint of zoiets zet er even bij hoe de volgorde van je lnbs zijn.
Gast Geplaatst: 7 oktober 2006 Geplaatst: 7 oktober 2006 Ik denk eerder dat je in je receiver de Astra-2 op Disecq 1 (of A) hebt staan. Kijk dat eens na; de Astra-2 moet natuurlijk op de goede ingang van de Disecq-switch worden geconfigureerd, anders gaat ie automatisch naar de LNB die op A staat, en da's de Astra-1 (of Hotbird). En dat gaat natuurlijk niet werken. Succes, Ger
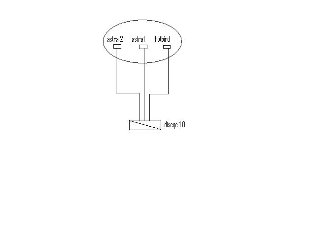
aranco Geplaatst: 7 oktober 2006 Auteur Geplaatst: 7 oktober 2006 Citaat: nou zo ver ik kan begrijpen is het gewoon een uitricht fout. maar maak eens een tekening van je lnbs en switch in paint of zoiets zet er even bij hoe de volgorde van je lnbs zijn. hierbij een tekening(dit is nooit mijn sterkste punt geweest). je kijk tegen de voorkant van de schotel aan,dan is linker lnb de a2,midden a1 en de rechter de hb. ze zijn als volgt aan gesloten op de switch 1=a1,2=hb en 3=a2. ik hoop dat het zo een beetje duidelijk is.
Gast Geplaatst: 7 oktober 2006 Geplaatst: 7 oktober 2006 Jij wordt ooit nog eens een beroemd tekenaar (grapje). Maar goed, zo heb je je Disecq-switch aangesloten. Heb je dat echter ook zo in je receiver gezet? Staan je instellingen voor de Astra-2 exact hetzelfde als voor de astra-1 en Hotbird? Behalve de poorten uiteraard: astra-1 op A; Hotbird op B en Astra-2 op C? Staan je LNB-frequenties goed (univ LNB) Dat wordt nogal eens over het hoofd gezien namelijk. Loop alle instellingen in je receiver eens rustig na en vergelijk ze met de Astra-1 die het wel goed doet. Je zult zien dat je uiteindelijk maar een kleinigheidje over het hoofd hebt gezien. Succes, het komt goed. Ger
Gast Geplaatst: 7 oktober 2006 Geplaatst: 7 oktober 2006 oke zou je nu ook de switch erbij kunnen tekenen. <img src="/forums/images/graemlins/xyxthumbs.gif" alt="" />
bromtol Geplaatst: 7 oktober 2006 Geplaatst: 7 oktober 2006 en typen kan je ook heel goed, dus vermeld even de instellingen voor je lnb's van je ontvanger. welk merk en type ontvanger? bromtol mij zie je hier niet meer posten, hoewel ik me soms erg in moet houden.
aranco Geplaatst: 8 oktober 2006 Auteur Geplaatst: 8 oktober 2006 Citaat: En Aranco, probleem inmiddels opgelost? ja idd het probleem is opgelost,ik denk dat het toch een foute instelling in mijn deco is geweest,omdat ik hem opnieuw ingesteld heb astra 1 op a,hb op b en de astra 2 op c en nu doet ie wel. in ieder geval allemaal hartelijk bedankt voor het mee denken en vooral voor de oplossing van wageral <img src="/forums/images/graemlins/xyxthumbs.gif" alt="" />
Aanbevolen berichten
Maak een account aan of log in om te reageren
Je moet een lid zijn om een reactie te kunnen achterlaten
Account aanmaken
Registreer voor een nieuwe account in onze community. Het is erg gemakkelijk!
Registreer een nieuwe accountInloggen
Heb je reeds een account? Log hier in.
Nu inloggen