dolphs Geplaatst: 7 maart 2011 Geplaatst: 7 maart 2011 Naast ik nieuwsgierig ben naar deze lnb, ben ik ook benieuwd hoe de genoemde EMP-Centauri zich gedraagt op een DM8000? Vooral ook omdat ik in de handleiding lees dat het Diseqc 2.0 is, zie de PDF. Bij mijn weten is alleen DiSEqC 1.0-1.2 door de DM8000 ondersteund, echter 2.0 is wel supported volgens tabelletje op wiki of vergis ik mij? Xtrend ET10000 met Quad Inverto Ultra
dolphs Geplaatst: 7 maart 2011 Auteur Geplaatst: 7 maart 2011 dank voor snelle reactie Xtrend ET10000 met Quad Inverto Ultra
Gast SatMann Geplaatst: 7 maart 2011 Geplaatst: 7 maart 2011 EMP is eigenlijk een diseqc dat op alle mogelijke ontvangers goed gaat werken. bv de laatste SAB reeks 10/1 geeft nogal wat problemen bij Enigma 2 toestanden, getuige de vele gebruikers die problemen hadden. dus uw keuze is zeker niet een verkeerde.
putemmer Geplaatst: 7 maart 2011 Geplaatst: 7 maart 2011 Origineel bericht van: SatMann bv de laatste SAB reeks 10/1 geeft nogal wat problemen bij Enigma 2 toestanden, getuige de vele gebruikers die problemen hadden. Dit is voor mij nieuw. Kan je vertellen wat er misgaat?
Gast SatMann Geplaatst: 8 maart 2011 Geplaatst: 8 maart 2011 nogal wat problemen met de dm8000 en dm800. tijdens het schakelen hangt hij soms, of soms leest hij de helft van de transponders niet meer. Ik geloofde het ook niet. Dus bij een maat die ook een sab had, en ook die problemen hebben wij een 16/1 eraan gehangen. scannen en direct in orde. het switchen ging ook weer...daarna hoorde ik meer en meer problemen opduiken. het gaat vooral over de laatste versie van de SAB. dus oudere 10/1 hebben het niet..vraag mij niet waarom, ik zou het niet weten.
Gast willem100 Geplaatst: 19 maart 2011 Geplaatst: 19 maart 2011 de sab 10/1 werkt zeer goed op alle ontvangers, maar moet je programeren naar wens, en dat zou ik kunnen doen. standaard staat deze switch in modus 2. houd dus in: lnb 1= 1.1/1-aa. lnb 5= 1.1/2-aa. lnb 6= 1.1/2-ab. de emp 16/1 werkt zoiezo , maar die heb dipschakelaars om hem naar wens te laten werken. ook de 8/1 kan je omzetten zoals je wilt.
dolphs Geplaatst: 18 mei 2011 Auteur Geplaatst: 18 mei 2011 Hoe zit het eigenlijk met het DVB-T gedeelte, is dat een kwestie van een buitenantenne erop aansluiten en transporteer je dan als "bonus" dvb-t signaal door de coax naar je sat ontvanger? Xtrend ET10000 met Quad Inverto Ultra
Fatfreddy Geplaatst: 18 mei 2011 Geplaatst: 18 mei 2011 Je gaat in dat geval niet rechtstreeks naar de ontvanger maar naar een sat/terrestrial splitter die het gecombineerde signaal dus weer splitst. Een splitter is bijvoorbeeld astro GUT300
dirkie73 Geplaatst: 18 mei 2011 Geplaatst: 18 mei 2011 Ik heb een DM800 en ben vorig week overgestapt op een 8x1 en de satelietman kwam met 4 verschillende 8x1 Switches,maar constant pakte de DM hem niet,wat hij ook probeerde,nada!!Maar via via kwam ik bij iemand die mij EMP-Centauri voorstelde,dus aangeschaft, Mensen ongelooflijk apparaat,gelijk baaaaaaaaaaaaaaaam beeld hoeft niets te doen (natuurlijk wel LNB+poortnrs invoeren ind DM) wat een prachtig apparaat is het, Dus mocht je voor je DM 800 (SE) een 4x1 of 8x1 switch nodig hebben,zoek ajb niet verder,zoals meerderen het op deze topic al aangeven:EMP-Centauri is tha bomb! BTW ik heb geen aandelen bij EMP-Centauri grts DJ
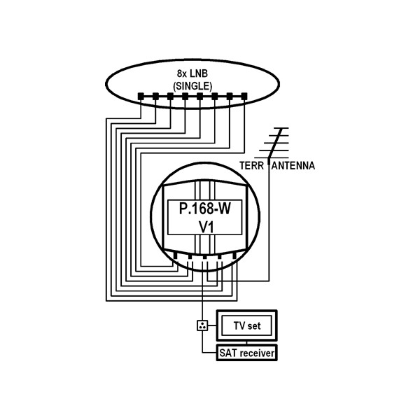
Gast SatMann Geplaatst: 19 mei 2011 Geplaatst: 19 mei 2011 Origineel bericht van: dolphs Hoe zit het eigenlijk met het DVB-T gedeelte, is dat een kwestie van een buitenantenne erop aansluiten en transporteer je dan als "bonus" dvb-t signaal door de coax naar je sat ontvanger? de EMP 16/1 en 8/1 hebben een poort waar je naast je lnb's ook je dvb-T kan meesturen..dus makkelijk. zie tekening als info
satsurfer Geplaatst: 5 april 2014 Geplaatst: 5 april 2014 hallo, heb momenteel een 17/1 smart multiswitch (al een jaar of 4). Helaas het eerste kwartier bij opstarten is het blokken op het scherm....na 15' speelt hij normaal. Op Astra 23,5°. Een HD brubbelt (pol: H), vtm hd werkt direct (pol. V). Schotel nog eens uitgericht, stond eigenlijk prima..heb +90 signaal. Volgens mij vormt de multiswitch het probleem? Ik dacht al langer over te stappen naar disecq (0 stroomverbruik)..wat heb ik nodig om 1 UHF antenne te combineren met 4 disecq 4/1 switches? VU+ Duo 4K DVB-S2x FBC DUAL + 1 X DVB-C FBC V 1.0 (Enigma2); Visiosat BIG Bisat (13,2° 19,2°, 23,5°, 28,2°O), 4 Alps BSTE9-101B, smart MS 17/4 ES multiswitch, Samsung UE50JU6800W
Aanbevolen berichten
Maak een account aan of log in om te reageren
Je moet een lid zijn om een reactie te kunnen achterlaten
Account aanmaken
Registreer voor een nieuwe account in onze community. Het is erg gemakkelijk!
Registreer een nieuwe accountInloggen
Heb je reeds een account? Log hier in.
Nu inloggen