Ga naar inhoud


Aanbevolen berichten

Geplaatst:

Om die Sky-feedhorn beter te begrijpen, gaan we eerst een kijken naar de verstelbare feed-horn bij een primefocus schotel.
Kent U hem nog, de ADF-120 waarbij je de scalarring m.b.v. schroefdraad vooruit en achteruit kunt verstellen t.o.v. de voorzijde van de golfpijp?

1771047172_instelbarescalarring.jpeg.f6c5359ff2ee9f60f50e51ae2ab6a4fa.jpeg


Hoe verder de scalarringen achter de voorzijde van de golfpijp liggen, des te grotere ontvangsthoek, hoe verder de scalarringen zich voor de golfpijp bevinden, des te kleinere de ontvangsthoek. Hierbij speelt ook de afstand een rol die de scalarring heeft t.o.v. de golfpijp.
Pas deze info nu eens toe bij een feedhorn voor een ovale schotel.

 

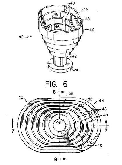
Als eerste Fig.6 waarbij de feedhorn ovaal is en de voorzijde van de feedhorn vlak.

 

1097701092_ovalefeedhorn2.JPG.c8c9255f870e5f56ecbf28d826262dd8.JPG

Leg je een klein liniaaltje in de richting van lijn 8, dan lopen de scalarringen zeer steil omhoog, dus een kleine ontvangsthoek. Leg je het liniaaltje in de richting van lijn 7, dan lopen de scalarringen veel minder steil omhoog, dus een brede ontvangsthoek. Dit betekent dus dat de feedhorn veel verder in de breedte kijkt dan in de hoogte.
Deze feedhorn kan dus gebruikt worden voor een Sky-schotel die veel breder is dan hij hoog is. De feedhorn moet dus met de brede ovale zijde horizontaal staan.

 

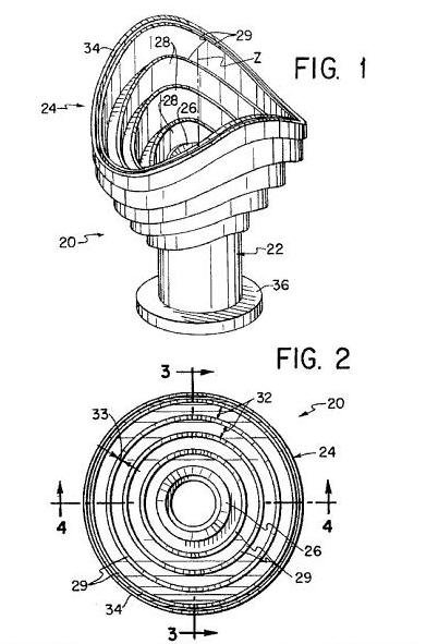
Als tweede bekijken we figuur 1 en 2.

1028280421_ovalefeedhorn1.JPG.6b5145f58c6bcac85aa6046fa0589ae3.JPG

We zien dat het om centrische scalarringen gaat, dus niet ovaal maar gewoon rond. Wel zien we dat de voorzijde van de scalarringen niet vlak zijn zoals in het vorige voorbeeld maar gegolfd. Bij de 2 toppen komt het lineaaltje behoorlijk schuin te liggen. De ontvangsthoek is dus klein. Bij de 2 dalen komt het liniaaltje veel platter te liggen, de ontvangsthoek in die richting is dus veel groter. Zou je deze lnb dus voor een Sky-schotel gebruiken, dan moeten de twee toppen naar boven en beneden staan.

 

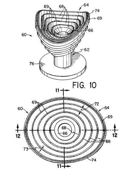
Als derde bekijken we naar fig.10.

774703574_ovalefeedhorn3.JPG.4c574bb81e2441713d352edbfd377019.JPG
Hier zien we een combinatie van de vorige twee voorbeelden. De scalarringen zijn ovaal en de voorzijde heeft toppen en dalen. In de richting van lijn 11 (over de korte zijde)  is de ontvangsthoek klein en in de richting van lijn 12 (over de lange zijde) is de ontvangsthoek groot.

 

Niet altijd is aan de lnb te zien dat hij een ovale feedhorn heeft. Soms is deze gewoon rond maar zijn de scalarringen ovaal. Dit is bij de meeste lnb's voor Sky-schotels het geval. Het is dan moeilijker te zien of de lnb ovale scalarringen heeft.

 

698130312_sky-lnb-waveguide-apertureorgineel.jpg.50abfaa3129dc4d9fa7f9e1d5b6513fa.jpg

 

We kijken ook nog even naar een speciale lnb uit Amerika. Daar is de provider DirecTV erg actief. Zij hebben 3 satellieten niet ver uit elkaar en hangen namelijk op 95 west, 101,1 west en 110,1 west. Daarvoor gebruiken ze ook een speciale schotel die in verhouding tot de Sky-schotel nog breder is. Daarvoor hebben ze ook een speciale lnb block waar 3 afzonderlijke ovale feedhorns zitten. Ook deze feedhorns zijn verticaal geplaatst zoals te zien is op onderstaande afbeelding.

 

 

Directv lnb.jpg


  • Reacties 37
  • Aangemaakt
  • Laatste reactie

Beste reacties in dit onderwerp

Beste reacties in dit onderwerp

Geplaatste afbeeldingen

Geplaatst:

En wat is er nu specifiek aan een Sky-lnb t.o.v. een andere lnb met ovale feedhorn?
- Er moet rekening gehouden worden met de skew waarop de lnb moet staan.
Als we een gewone offsetschotel gebruiken en een gewone lnb, dan moet in Engeland de lnb natuurlijk ook op een bepaalde skew ingesteld worden.
Daarbij moet er rekening gehouden worden dat de Astra 2 satellieten met een pré-skew uitzenden van 7,5 graad. Je weet waarschijnlijk wel dat Astra dat gedaan heeft zodat de lnb's van de schotelgebruikers dan minder schuin ingesteld (met minder skew) hoeft te worden.

 

939300844_Astra12en3polarisatie75gradengedraaidklein.png.e0cec627d4f9fe8bfee547cd5a3b4c96.png


Als je nu Dishpointer gebruikt en kijkt op hoeveel skew in Engeland ingesteld moet worden, en we houden rekening met die 7,5 graden pré-skew, dan zien we dat dit overeen komt het onderstaand kaartje. In midden Engeland is dit -14°, in Ierland loopt dit op naar -18° en in Schotland is dat maar -10°.

1303563275_Skewmap.png.80b229c7ba8a41479a36b8ae0ed84fb6.png

Als je in Engeland een Sky-schotel plaatst, wordt de ovale schotel horizontaal geplaatst, d.w.z. de ovale punten links en rechts staan even hoog. Dit is voor het zicht misschien wel het fraaiste maar niet het beste. Want waarom gebruiken ze in Engeland die specifieke Sky 1 en Sky 2 schoteltjes? Omdat het signaal in Engeland loeisterk is. Het hele vermogen van een transponder wordt niet verdeeld over geheel Europa en meestal nog een stuk in Azië en Afrika maar alleen maar voor het eiland Verenigd Koninkrijk. Dan kun je met een heel klein schoteltje toe om voldoende signaal te hebben maar ja, zo'n heel klein schoteltje heeft wel een hele grote openingsshoek. Je ontvangt daarmee ook satellieten die in de buurt van positie 28,2 oost staan, zoals de Badr 26 oost. Om overspraak van deze satellieten te voorkomen, zou je eigenlijk een grotere schotel moeten hebben, maar voor het signaal is dat niet nodig want het is sterk genoeg. Daarom is gekozen voor een ovale schotel. Die heeft de breedte van een grote schotel en is toch klein te noemen. Ze hebben de kleine Sky-schotels zelfs van geperforeerd staalplaat gemaakt zodat ze minder opvallen.

 

1002688780_Skyminidishzone12.jpg.239044fe8bc371bd51e003030e81cbf0.jpg


Maar wil je nu zoveel mogelijk scheiding hebben van de naastgelegen satellieten, dan zou de ovale schotel ook schuin moeten staan, gelijk aan de schuinte van de Clarkebelt waar de Astra 28,2 hangt. Zo doen ze dat ook in Amerika. Daar staan alle DirecTV-schotels schuin. De lnb's zijn niet te verdraaien t.o.v. de schotel en de gehele schotel is met een skew (tilt) schaalverdeling op de juiste schuinte in te stellen.

 

12948090.jpg.be5338861fb6b977b739e342f0bea361.jpg

 

Terug naar de Sky-lnb's.
Een standaard afspraak bij een lnb voor lineaire polarisatie is dat als F-connector aansluiting recht omlaag staat, de antennes in de lnb altijd precies horizontaal en verticaal staan. We hebben gezien dat de skew in midden Engeland op -14° moet staan en dat de ovale schotel horizontaal staat. Dat wil dus zeggen dat de ovale skalarringen 14° verdraaid moeten staan t.o.v. de antennes.

1964398441_ovalefeedhornvoorskyminidish1b.thumb.png.adc6bfa7a09b14814d05e99b4702f569.png

Omdat de skew van de lnb in Engeland dus niet overal precies hetzelfde moet staan, is een schaalverdeling aangebracht op de lnb met de cijfers 1 t/m 5.
- stand 1 komt overeen met een skew van -18°
- stand 2 komt overeen met een skew van -16°
- stand 3 komt overeen met een skew van -14°
- stand 4 komt overeen met een skew van -12°
- stand 5 komt overeen met een skew van -10°

 

Zinwell-Quad-LNB-J4lS-Sky-Freesat-4-ports.thumb.jpg.70f5674b9f93f5aac63dd0d5d62e149c.jpg

 

Maar wat nu met die waterpas?
Als je een originele Sky-schotel koopt, zit deze in een doos inclusief de muurophangbeugel. De muurophangbeugel is anders dan wat wij gewend zijn. Je monteert eerst een muurplaat tegen de muur en daar steek je een L-vormige buis in. Die buis wordt met 2 U-beugels vastgeklemd maar is wel te verdraaien t.o.v. de muurplaat. Als de schotel ongeveer evenwijdig met de muur staat, zou je dus de skew van de gehele schotel kunnen verstellen met de twee U-beugels. Om er nu voor te zorgen dat de schaalverdeling op de lnb de juiste skew-waarde aan geeft, moet er natuurlijk voor gezorgd worden dat de ovale schotel eerst horizontaal staat. Daarvoor zit er een waterpas op de lnb-houder en de libel moet dus eerst mooi tussen de 2 streepjes staan.

sky-dish-rear.jpg.a9b3133a3f3a12ab4222a31ea53f8a80.jpg

Hier nog even een kaartje welk schotelformaat in Engeland genomen moet worden. U ziet dat in de uithoeken een Sky-schotel niet toereikend is en dat gewone offsetschotels van 80 of 100cm met gewone lnb's genomen moeten worden als voldoende regenreserve gewenst is.

 

Schotelformaat-UK.png.a5fffe005b358ea1a89c1f666e7a1f6e.png

 

Zo, nu weet U voldoende om een Engelsman te helpen om zijn schotel af te stellen.

 

Geplaatst:

Tja, weer bedankt voor de heldere toelichting zoals wij dat van jou wel gewend zijn.

 

Alleen jammer dat je feitelijk hier in Spanje er niets aan hebt.

 

MacBook Air M2 2022 - iPad Air 2021 - Iphone XR - Apple TV 4 2021

Geplaatst:

Nou, ik race alleen door Frankrijk om zo snel mogelijk in Spanje te komen dus de kans is 0 dat wij daar met vakantie gaan…😄

MacBook Air M2 2022 - iPad Air 2021 - Iphone XR - Apple TV 4 2021

Maak een account aan of log in om te reageren

Je moet een lid zijn om een reactie te kunnen achterlaten

Account aanmaken

Registreer voor een nieuwe account in onze community. Het is erg gemakkelijk!

Registreer een nieuwe account

Inloggen

Heb je reeds een account? Log hier in.

Nu inloggen
  • Wie is er online   0 leden

    • Er zijn geen geregistreerde gebruikers deze pagina aan het bekijken
×
×
  • Nieuwe aanmaken...